上海恒點傳動設備有限公司
加微信聯系 恒點減速機QQ2:51228482
[HTML] [XML]  産品展示産品展示-RSS  新聞中心新聞中心-RSS  技術支持技術支持-RSS
産品分類: 減速機蝸輪絲杆升降機轉向箱蝸輪蝸杆減速機齒輪減速機行星齒輪減速機擺線針輪減速機無級變速機大功率減速器
上海恒點傳動設備有限公司
資訊分類
和産品相關的技術文章
當前位置:網站首頁 > 技術支持 > 直廓環面蝸杆、蝸輪精度蝸杆副的側隙規定、圖樣标注(GB/T16848-1997)

直廓環面蝸杆、蝸輪精度蝸杆副的側隙規定 、圖樣标注(GB/T16848-1997)

Tags: WP鑄鐵蝸輪蝸杆減速機    發布時間: 2014-07-13
7蝸杆副的側隙規定
7.1蝸杆副的側隙分爲量小圓周側隙和圓周側隙,側隙種類與精度等級無關。
7.2根據工作條件和使用要求選用側隙 。蝸杆副的最小圓周側隙和圓周側隙按表3的規定。
8圖樣标注
8.1在蝸杆、蝸輪工作圖上,應分别标注其精度等級、齒厚極限偏差和本标準代号 ,标注示例如下。
8.1.1蝸杆的第Ⅱ、Ⅲ公差組的精度等級爲6級,齒厚極限偏差爲标準值,則标注爲:
蝸杆副的側隙規定、圖樣标注
若蝸杆齒厚極限偏差爲非标準值,如上偏差爲:-0.27,下偏差爲:-0.40,則标注爲
8.1.2蝸輪的三個公差組的精度同爲6級,齒厚極限偏差爲标準值,則标注爲:
蝸杆副的側隙規定、圖樣标注
8.1.3蝸輪第Ⅰ公差組的精度爲6級,第Ⅱ、Ⅲ公差組的精度等級爲7級,齒厚極限偏差爲标準化值,則标注爲:
蝸杆副的側隙規定、圖樣标注
若蝸輪齒厚極限偏差爲非标準值,如上偏差爲:+0.10,下偏差爲:-0.10,則标注爲:
6-7-7 (+0.10)  GB/T16848-1997
8.2對蝸杆副 ,應标注出相應的精度等級、側隙、本标準代号,标注示例如下。
8.2.1蝸杆副的三個公差組的精度等級同爲6級,側隙爲标準側隙,則标注爲:
蝸杆副的側隙規定、圖樣标注
8.2.2蝸杆副爲第Ⅰ公差組的精度爲6級,第Ⅱ、Ⅲ公差組的精度等級爲7級,側隙爲:jt=0.2mm,jtmin=0.1mm,則标注爲:
蝸杆副的側隙規定、圖樣标注
附錄A
(提示的附錄)
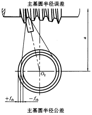
主基圓半徑公差
主基圓半徑誤差是加工蝸杆(或鏟制滾刀)時,刀具的主基圓半徑誤差,實際上表示瞭蝸杆(或滾刀)齒形角和壓力角的改變。主基圓半徑誤差在加工過程中控制。主基圓半徑誤差定義見表A1,主基圓半徑公差見表A2。
表A1主基圓半徑誤差定義
名稱
代号
定義
蝸杆副的側隙規定、圖樣标注
△frb
 
 
 
 
 
 
 
 
 
 
±frb
加工蝸杆時,刀具的主基圓半徑的實際值與公稱
值之差
表A2主基圓半徑公差
序号
名稱
代号
中心距/mm
80~160
>160~315
>315~630
>630~1250
精度等級
6
7
8
6
7
8
6
7
8
6
7
8
1
主基圓半徑公差
frb
20
30
45
25
40
60
35
55
80
50
80
120
附錄B
(提示的附錄)
蝸杆蝸輪齒坯公差
蝸杆蝸輪齒坯公差見表B1
表B1蝸杆蝸輪齒坯公差
名稱
中心距/mm
80~160
>160~315
>315~630
>630~1250
精度等級
6
7
8
6
7
8
6
7
8
6
7
8
1
蝸杆喉部直徑公差
h7
h8
h9
h7
h8
h9
h7
h8
h9
h7
h8
h9
2
蝸杆基準軸頸徑向跳動公差
12
15
30
15
20
35
20
27
18
25
35
55
3
蝸杆兩定位端面的跳動公差
12
15
20
17
20
25
22
25
30
27
30
35
4
蝸杆喉部徑向跳動公差
15
20
25
20
25
27
27
35
45
35
45
60
5
蝸杆基準端面的跳動公差
15
20
30
20
30
40
30
45
60
40
60
80
6
蝸輪齒坯外徑與軸孔的同心度公差
15
20
30
20
35
50
25
40
60
40
60
80
7
蝸輪喉部直徑公差
h7
h8
h9
h7
h8
h9
h7
h8
h9
h7
h8
h9
上一篇 上一篇: 直廓環面蝸杆、蝸輪精度蝸杆副的檢驗與公差(GB/T16848-1997)
下一篇 下一篇 : 圓柱蝸杆、蝸輪圖樣上應注明的尺寸數據主題内容與适用範圍、引用标準(GB/T12760-91)
相關新聞文章 > 查看更多
O型圈損壞的原因和措施-化學介質腐蝕 2026-02-04
什麽叫齒線?什麽叫純滾動? 2025-12-04
求直線段實長的方法有哪些,作展開圖的方法有哪些? 2025-09-29
我國滾動軸承分爲哪幾個公差等級?國外軸承公差等級是如何劃分的? 2025-07-23
WD蝸杆減速器适用範圍、型号标記(JB/ZQ4390-79) 2025-05-21
WD蝸杆減速器安裝尺寸(JB/ZQ4390-79) 2025-05-20
WD型減速器傳動比及輸出轉矩表(JB/ZQ4390-79) 2025-05-19
錐齒輪承載能力計算方法第 2 部分:齒面接觸疲勞(點蝕)強度計算壽命系數ZNT(GB/T10062.2-2003) 2025-05-09
平面二次包絡環面蝸杆減速器系列、潤滑和承載能力減速器的承載能力及傳動效率(二)(GB/T16444-1996) 2025-03-24
什麽是基本尺寸? 2024-12-19
研究測量誤差的意義是什麽 2024-10-23
什麽是DETENT TORQUE? 2024-09-12
返回頂部 關閉本頁】 【打印本頁
電 話:021-22815912  021-22816186  傳 真:021-32050712   郵箱:sales@021jsj.cn  減速機 絲杆升降機 轉向箱 蝸輪蝸杆減速機
Copyright©2009-2026上海恒點傳動設備有限公司 版權所有  地址:上海市金山區亭林鎮林寶路39号  郵編:200442  滬ICP備10206998号-2 
友情鏈接機械設備網 | 渦街流量計 | 輸送機 | 變頻控制櫃 | 破碎機 | 工業同城 | 手持終端 | 柴油發電機 | uv平闆打印機 | 風淋室 | QUV | 防火門 | 九愛圖紙 | 感應加熱設備 | 輸送帶廠家 | 噪聲治理 | 西門子plc | 拖鏈電纜 | AGV | 機械雜志 | 現代機械 | UWB高精度定位 |